新船订单汇总(2023.7.31-8.6)

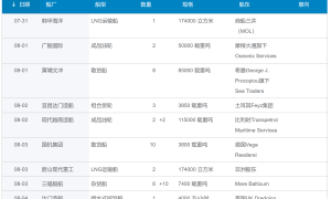
据龙船订单库(https://www.imarine.cn/order)跟踪统计,上周(7.31-8.6)公布的新船订单有35+12艘。

5亿美元!国营海东造船厂与阿联酋艾姆艾波克公司签战略合作协议

8月4日,国营海东造船厂与阿联酋艾姆艾波克公司在希腊签订了为期5年共5亿美元的战略合作协议,其中首批新造船项目超过1亿美元。 据了解,海东造...

达门造船获一艘喷水式挖泥船订单

近日,达门造船集团与英国疏浚公司(UK Dredging)签订了一艘Shoalbuster 2711型喷水式挖泥船(Water Inject...

三福船舶获6+10艘7400载重吨多用途杂货船

据贸易风消息,荷兰初创企业ETA Shipping通过新成立的海上合资企业Mare Balticum向泰州三福船舶工程有限公司订购了6+10...

船价创新高!HD现代重工获两艘LNG运输船订单

HD现代集团造船业务中间控股公司HD韩国造船海洋8月3日宣布,该公司最近与非洲船东签订了两艘17.4万立方米液化天然气(LNG)运输船建造合...

Vega Reederei向中国船厂下单10艘3800载重吨散货船

据外媒报道,德国船东Vega Reederei将在中国船厂下单10艘3800载重吨柴电动力散货船。 该系列船由荷兰船舶设计公司Conoshi...

兴通海运拟建2艘2.59万载重吨外贸化学品船及1艘内贸LPG船

8月3日,兴通海运股份有限公司在其发布的《2023年半年度报告》内披露拟建造 2 艘 2.59 万载重吨外贸化学品船以及 1 艘内贸 LPG...

广船国际获摩根大通2艘成品油轮订单

据外媒报道,近日,摩根大通旗下航运公司Oceonix Services与广船国际签署了2艘5万载重吨成品油轮建造合同,预计每艘价格超过500...

多达10艘甲醇燃料船订单!广船国际“发力”了

挪威船东Ocean Yield于8月1日宣布,该公司同意购买四艘LR1型成品油轮,新船将由广船国际建造,计划于2026年和2027年交付。 ...

现代越南造船获2+2艘LR2型成品油轮订单

外媒报道称,比利时船东Transpetrol Maritime Services公司与现代越南造船签订了2+2艘115000载重吨LR2型成...
正在加载中...

已加载全部内容

已经没有更多文章了

关注微信
微信扫一扫关注我们

微信扫一扫关注我们

关注微博
返回顶部